Home » News » Pilot operated relief valve

Pilot operated relief valve

Views: 102     Author: Site Editor     Publish Time: 2023-06-05      Origin: Site

Pilot operated relief valve

Pilot operated relief valve


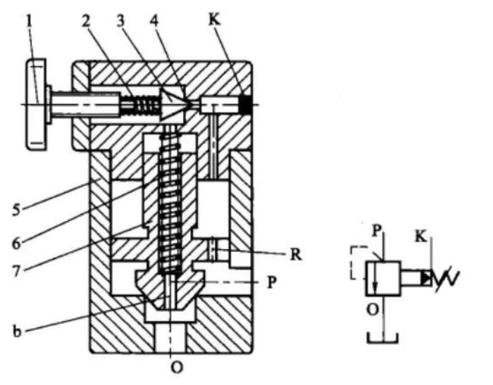
Pilot relief valve is composed of two parts: main valve and pilot valve. According to the different spool matching forms, the main valve has one concentric, two concentric and three concentric forms.


The following figure shows the structure principle and graphic symbol of three concentric relief valves. The main spool and valve body have three concentric requirements. The main valve is composed of the main valve body 5, the main spool 7, the spring 6, etc. The pilot valve is an ordinary direct action poppet valve relief valve


When the oil inlet P of the pilot relief valve passes into the pressure oil, the pressure oil can enter the upper oil chamber through the damping hole R on the main spool, and enter the right chamber of the pilot valve through the hole on the pilot valve body.


When the pressure at the oil inlet P of the relief valve is small, not enough to open the pilot spool 3, the pilot valve is closed under the action of the pilot valve spring (i.e. pressure regulating spring 2), there is no oil flowing through the damping hole on the main spool, the liquid pressure of the upper and lower two chambers of the main spool 7 is equal. Under the action of the main valve spring 6, the main spool is in the lower limit position to close the overflow channel from P to O. When the pressure increases to the opening pressure of the pilot spool, the pilot spool opens, and the oil can flow back to the oil return chamber O of the main valve through the oil drain hole b on the main spool to implement internal leakage. Due to the large liquid resistance of the damping hole R, pressure drop is generated when the oil flows through, making the liquid pressure on the main spool unbalanced. When the liquid pressure at the inlet reaches the set pressure of the relief valve, the liquid pressure acting on the lower side of the main spool of the relief valve is greater than the sum of the liquid pressure on the upper side and the force acting on the main valve spring, the main spool begins to move upward, and the pressure oil at the inlet of the relief valve overflows to the return oil through the main valve port P Port O flows back to the tank to achieve the purpose of overflow pressure stabilization.



微信截图_20230605135026

ADDRESS

#2 Building ,No.1699 XinLuo Ave , Jinan Area-FTZ of China

CALL US

(+86)-531-88902882   /  (+86)-186-5310-9068

Copyright © 2020  ShanDong UNLE Import And Export Trade Co.,Ltd. All Rights Reserved Support By sdzhidian