Views: 305 Author: Site Editor Publish Time: 2021-04-30 Origin: Site
Types and working principle of hydraulic hose joints
Hydraulic joints are connecting components between hydraulic pipes and hydraulic pipes, or between pipes and hydraulic components. Hydraulic joints include hydraulic joints for hoses and hydraulic joints for hard pipes. Only hydraulic joints for hoses and hydraulic hoses are introduced here. One end of the pipe joint is connected to the hydraulic hose (called the tail end), and the other end is connected to other components (terminals). In order to ensure compatibility and leak-free sealing with other components, the terminal of the hydraulic hose joint needs to be designed in accordance with common interface standards , The main function of the tail end is to ensure the long-term sealing of the connection between the joint and the hose.

The form of the slave interface can be divided into the following types:
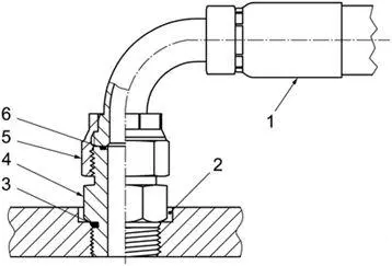
1. O-ring end face sealing hose connector

1. Hose joint 2. Oil port 3. O-ring 4. Joint 5. Nut 6. O-ring, when the nut 5 is screwed with the external thread of the joint body, as the tightening torque increases, the hose joint Contact with the end surface of the joint body (piece 4) and press tightly, the O-ring on the end surface of the joint 4 is elastically deformed, fully contacts the end surfaces of the piece 6 and the piece 4 and generates pressure to play a sealing role.
Special attention should be paid during installation, and the sealing ring should be checked before installation.
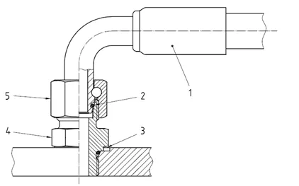
1. 24° cone sealing end hose connector

1. Hose joint 2. O-ring 3. Oil port 4. Joint 5. Nut. When the nut 5 is screwed with the external thread of the joint body (piece 4), as the tightening torque increases, the hose joint The cone surface is in contact with and pressed against the inner cone surface of the joint body (piece 4), and the O-ring on the outer cone surface of the hose connector 1 is elastically deformed, fully contacting the cone surfaces of the parts 6 and 4, and generates greater pressure , Play a sealing role, due to the leverage of the cone surface, the pressure between the cone surfaces is greater, and the sealing effect is theoretically better.
Special attention should be paid during installation, and the sealing ring should be checked before installation.
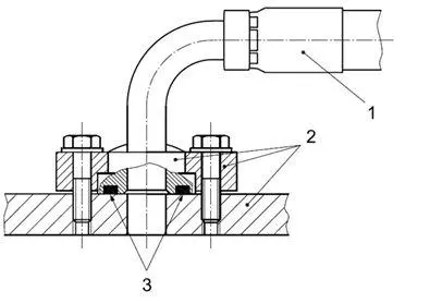
1. Flange end hose connector

1. Hose joint 2. Oil port, flange head, flange pressure plate 3. O-ring, the flange head of the hose joint is pressed on the oil port by the flange pressure plate, when the bolt tightening torque increases, the bolt produces a lot The pre-tightening force of the bolt passes through the flange pressure plate to tightly press the flange head against the oil port. The O-ring (piece 3) on the flange head is deformed by compression, and the hose connector (piece 1 ) The end face of the flange head and the oil port face fully contact and produce pressure, which plays a sealing role. Due to the use of high-strength bolts, the pressure between the contact surfaces is very large, and the sealing effect is theoretically very good.
Special attention should be paid during the installation process. Check the end face O-ring before installation.
1. Stud end hose connector

The threaded root of the joint is equipped with an O-shaped washer. When the joint is connected with a port through the thread, the O-ring is attached to the end face of the oil port to play a sealing role.
5.37° Flared end hose connector


1. Hose joint 2. Nut 3. Steel pipe 4. Sleeve, when nut 2 is screwed with the external thread of the joint body (piece 1), as the tightening torque increases, the outer cone of the hose joint and the steel pipe ( Part 3) The inner cone surfaces are in contact and pressed tightly, and the hose connector 1 and 3 cone surfaces are in full contact and produce greater pressure, which plays a sealing role. Due to the leverage of the cone surfaces, the pressure between the cone surfaces is greater.
In the process of selecting hydraulic pipe joints, it is necessary to consider the maximum working pressure of the joint, working temperature, interface size, applicable pipe inner and outer diameter dimensions, whether the installation is convenient, whether it is economical, and other factors. The maximum working pressure of the joint should not be lower than the maximum working pressure of the hose.

